热搜第一!王宝强被举报欺诈,当事人已报案,最新回应
11月21日,王宝强被举报涉嫌欺诈,引发热议。
刚刚,@王宝强工作室 发文回应,称与格斗俱乐部方白纸黑字签订的分文不差,承诺过的帮助也从未食言,“无愧于心,也绝不负信任,我们静待法律结果。”

据此前报道,11月21日17时30分左右,#王宝强被举报涉嫌欺诈#话题冲上热搜,引发关注。
有博主发文,成都恩波格斗俱乐部向警方报案称,王宝强及其公司涉嫌诈骗。据悉,双方曾合作拍摄《八角笼中》,但在票房分成上存在争议。
王宝强及其公司被举报涉嫌诈骗
据《大河报》报道,11月21日,有博主发文曝光知名男星王宝强,称某格斗俱乐部的负责人去报案,说当初与王宝强合作拍电影《八角笼中》时,俱乐部给了王宝强电影全力支持,耗时五年投入的人力物力财力高达百万元。俱乐部曾被承诺拿5%的票房分成(22亿元票房,分成1.1亿元),但王宝强没给任何回报,导致俱乐部现在经营出现很大问题。

目前,警方已受理了恩波俱乐部报案,并向恩波俱乐部出具了回执,接下来将展开调查。
公开资料显示,《八角笼中》是王宝强自导自演的第二部电影,该片总票房突破21亿元,累计观影人次超过5156万。
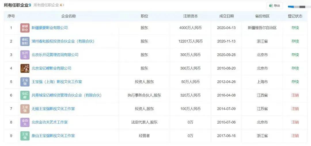
王宝强商业版图曝光
据相关资料显示,王宝强名下共关联9家企业,其中5家为存续状态,包括王宝强(上海)影视文化工作室、北京宝亿嵘影业有限公司、北京乐开花管理咨询有限公司等,王宝强均担任股东,其商业版图包括影视、股权投资。


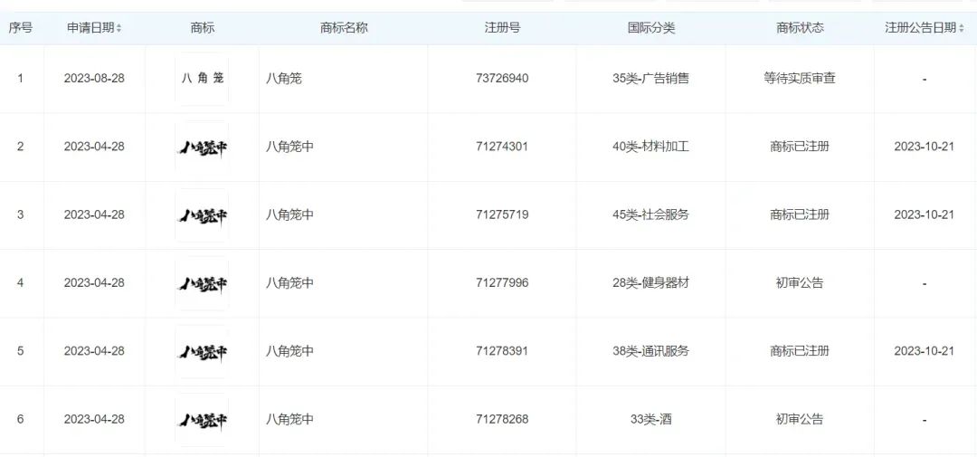
值得一提的是,王宝强实控的北京乐开花影业有限公司已成功注册多枚“八角笼中”商标,国际分类涉及珠宝钟表、广告销售等,同时还登记了“八角笼中”美术和文字作品著作权。

此外,王宝强女友冯清共关联5家企业,仅晓时代(厦门)文化传播有限公司、深圳千寻魅影科技有限公司两家公司为存续状态。近日,深圳千寻魅影科技有限公司新增一则注销公告,注销原因为决议解散。
内容综合自 极目新闻、 @王宝强工作室、21世纪经济报道、大河报、公开资料等
值班编辑 古丽
星标“新京报”
及时接收最新最热的推文
点击“在看”,分享热点